





COMPATIBLE IMPLEMENTS
This loader is compatible with the following implements: hay/silage cutters, bale grabs, log grabs, grab buckets, scoops, pallet forks, etc.

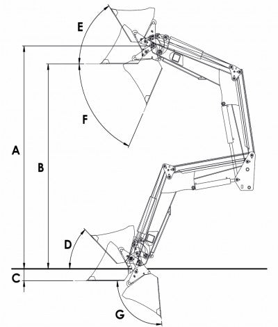
Specifications
Detailed technical specifications and performance data for this product.
Specification | Value | Unit |
---|---|---|
Nominal Load Capacity | 1200 | kg |
Cylinders | 63/63 | mm |
Lifting Height (A) | 3,400 | mm |
Loading Height (B) | 3,100 | mm |
Digging Depth (C) | 100-200 | mm |
Low height blade closing angle (D) | 46 | degrees |
Hight blade closing angle (E) | 58 | degrees |
Hight height blade tripping angle (F) | 61 | degrees |
Low height blade tripping angle (G) | 75 | degrees |
Loader deadweight | 370 | kg |
Joystick controls | Standart accessory | - |
Euro implement mount | Standart accessory | - |
Joystick-controlled shock absorber system | Standart accessory | - |