










COMPATIBLE IMPLEMENTS
This loader is compatible with the following implements: hay/silage cutters, bale grabs, log grabs, grab buckets, scoops, pallet forks, etc.

Specifications
Detailed technical specifications and performance data for this product.
Specification | Value | Unit |
---|---|---|
Nominal Load Capacity | 650 | kg |
Cylinders | 50/50 | mm |
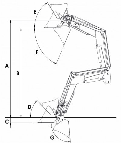
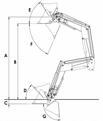
Lifting Height (A) | 2,800 | mm |
Loading Height (B) | 2,500 | mm |
Digging Depth (C) | 100-150 | mm |
Low height blade closing angle (D) | 46 | degrees |
Hight blade closing angle (E) | 58 | degrees |
Hight height blade tripping angle (F) | 61 | degrees |
Low height blade tripping angle (G) | 60 | degrees |
Loader deadweight | 270 | kg |
Joystick controls | Standart accessory | - |
Euro implement mount | Standart accessory | - |
Joystick-controlled shock absorber system | Standart accessory | - |